一、Z6S41H氣動閘閥主要性能參數:
公稱壓力:1.6,2.5.4.0.6.4MPa
使用溫度:-29~425℃(碳鋼)-40~+550℃(不銹鋼)
公稱通徑:DN50~800mm
閥體材質:304.306.316L.WCB.HT200
連接法蘭:JB/T79.GB913.HG20592
適用介質:空氣、水、蒸汽、油及硝酸、醋酸等腐蝕性流體
作用方式:切斷型,調節型,手動控制
電源電壓:220VAC、24VAC
輸入信號:4~20mA/1~5VDC
0~20mA/0~10VDC
型號
|
Z6S41H-25
|
Z6S41H-16
|
Z6S41T-10
|
公稱通徑DN(mm)
|
50~600
|
40~400
|
40~400
|
適用介質
|
水、蒸氣
、油品 |
水、蒸氣
|
水、蒸氣
|
最高介質溫度(℃)
|
425
|
425
|
200
|
氣缸工作壓力(表)MPa
|
0.4~0.6
|
||
二、Z6S41H氣動閘閥用途及使用范圍:
Z6S41系列氣動帶手動楔式閘閥是具有氣動執行機構(雙層氣缸,并帶有緩沖機構)和手動及其保護機構(手動和可自鎖的氣動-手動轉換裝置)的低支架明桿閘閥。該閥由于采用雙層氣缸結構,其與單氣缸式氣動閘閥相比,提升力增大了一倍。這就從根本上解決了單氣缸氣動閘閥的某些閥體內楔死而打不開的弊病。而且,由于該閥具備緩沖機構,能有效地減速輕了關閉閥門時,由于活塞下行沖擊而造成的閥板車密封面和閥體密封面的磨損,同時,也能避免閘板卡死的現象。
為了配合用戶實現操作自動化,本公司除供應本系列產品之外,還可單獨提供包括支架在內的氣缸體,幫助用戶對已有的種類繁多的手動閘閥進行改造,將雙缸氣動執行機構部分安裝在手動閘閥的閥體大蓋上,即可構成雙缸式氣動-手動兩用閘閥。
由于其技術先進,性能可靠,操作切換和維修方便,已被石油、化工、冶金、電力、海運等部門作為輸送氣體、液體介質的管道開閉裝置而廣泛使用。
三、 Z6S41H氣動閘閥結構原理:
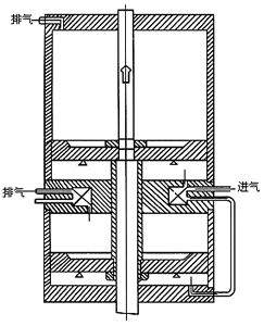
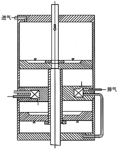
本系列產品以0.4~0.6MPa(表壓)凈化壓縮空氣作工作壓力,推動活塞,帶動閘板作垂直于流體的位移,實現開啟開關閉閥門的目的。
巧妙設計的雙層氣缸和緩沖機構:
雙層氣缸和緩沖機構的工作原理,按閘板工作的四個階段分述如下:
(附插原理圖①、②、③、④)
1、閘閥開啟前階段:上層氣缸的活塞(以下簡稱上活塞)和下層氣缸的活塞(以下簡稱下活塞)同時受力,閥桿在上、下活塞的推動下,以單活塞近二倍的提升力,克服閘板密封面和閥體密封面之間的最大靜磨擦力,帶動閘板上升。 壓縮空氣由上氣缸的下氣室,經由設置在隔板的特定通道,通過連通管,到達下氣缸的下氣室,推動上下活塞同時工作。下氣缸上氣室中的氣體,經過設置在隔板內的另一特定通道。暢通無阻的排出氣缸體外。
2、閘閥開啟的后階段:在閘板稍稍開啟以后,下活塞就運行到了上死點,閘板在上活塞的帶動下,繼續提升,直至到了全開位置。
3、閘閥關閉的前階段:在上活塞的推動下,閘板離開全開位置,開始下降。
4、閘板關閉的后階段:當上活塞碰到下活塞凸臺,并帶動下活塞一起繼續下降時,由于下氣缸上氣室的進氣通道和下氣缸下氣室的排氣通道設有阻礙,明顯地減慢了下行的速度,進至閘板下降到了全關位置。減緩閘板下行的沖擊,自行可關嚴閥門,又不使閥板楔得過緊,同時,還保護了密封面,免受猛烈沖擊而損壞。
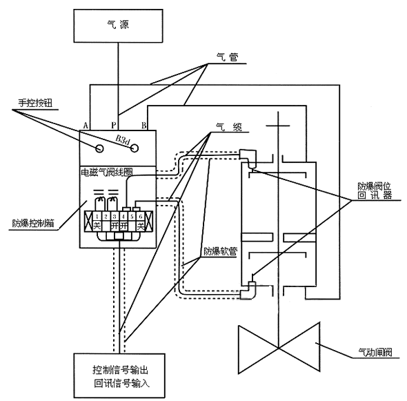
靈活可靠的氣動-手動轉換機構,裝氣缸蓋上部的氣動-手動轉換機構,在閘閥開啟的關閉過程的任何位置上,都可十分方便的轉動操作手柄,直接地進行由氣動至手動或由手動至氣動的操作方式的轉換,轉換操作手柄采用定位銷式自鎖設計,手柄定位后,可靠鎮定。由電磁閥及其控制電路或供風系統發生故障時,不需其他輔助工具,即可迅速轉換成手動操作狀態,保證線路正常運行,避免事故發生。在新建工程的自控制系統未完成之前,本系列閘閥可以可靠地作為手動閘閥使用,動作時靈活輕快。
關閥時間可調通過調整,安裝在隔板上的緩沖機構,還可以在一定范圍內調整閘板關閉的時間。
可配用回訊器


工作狀況(1)--開閥初始階段工作力=2P 工作狀況 (2)--開閥初始階段工作力=2P


工作狀況(3)--關閥初始階段工作力=P 工作狀況(4)--關閥終了階段工作力=P
雙缸式氣動帶手動楔式閘閥系統控制原理圖:

本閥可以配用電的或氣的回訊器,用以發送閥門開關狀態信息。因此,使用本閥可以實現遠距離控制,集中控制和自動控制。
△耐腐防蝕的氣缸 本閥的氣缸選用于無縫鋼管制造,內表面鍍以耐腐性硬鉻,并經拋光處理,具有磨擦力小、不易銹蝕、高硬度、壽命長等優點。
△氣缸中的密封圈采用丁晴橡膠○形密封圈,密封性能可靠,維修時更換方便。
四、Z6S41H氣動閘閥性能規范
1、閥體性能
型號
|
公稱壓力PN(MPa)
|
閥體試驗壓力
PN(MPa) |
工作溫度(℃)
|
||||||||
120
|
200
|
225
|
250
|
300
|
350
|
400
|
425
|
||||
強度試驗
|
密封試驗
|
工作壓力P(MPa)
|
|||||||||
Z6S41T-10
|
1.6
|
2.4
|
1.6
|
-
|
1.6
|
-
|
1.5
|
1.3
|
1.2
|
1.0
|
0.9
|
Z6S41H-25
|
2.5
|
3.8
|
2.5
|
-
|
2.5
|
-
|
2.3
|
2.0
|
1.8
|
1.6
|
1.4
|
Z6S41H-40
|
4.0
|
6.0
|
4.0
|
-
|
4.0
|
-
|
3.6
|
3.2
|
2.8
|
2.6
|
2.2
|
Z6S41H-64
|
6.4
|
9.6
|
6.4
|
-
|
6.4
|
-
|
5.7
|
5.2
|
4.6
|
3.8
|
3.6
|
2、氣缸性能
型號
|
公稱壓力
PN(MPa) |
氣缸密封試驗壓力
PN(MPa) |
氣缸工作壓力
PN(MPa) |
Z6S41T-10
Z6S41H-25 Z6S41H-40 Z6S41H-64 |
0.6
|
0.6
|
0.4~0.6
|
3、耗氣量
[凈化壓縮空氣壓力:0.4MPa(表)] 閘閥的氣缸單程耗氣量(以壓縮空氣體積計算)
氣缸直徑D(mm)
|
50
|
80
|
100
|
150
|
200
|
250
|
300
|
350
|
400
|
耗氣量(m)
|
0.0023
|
0.0029
|
0.0033
|
0.0084
|
0.0169
|
0.0198
|
0.0320
|
0.0636
|
0.0707
|
五、Z6S41H氣動閘閥結構、材料及使用說明:
1、 
本閥主要由閥體、閥蓋、閘板、閥桿、密封圈、雙層氣缸及其活塞、活塞桿、隔板連同緩沖機構、手動機構、氣動-手動轉換裝置和閥蓋填料裝置等部分組成。
2、上活塞行至行程上端可頂上上回訊器,使之發訊;下活塞行之行程下端可頂下下回訊器,使之發訊,以作為閘閥開閉信息在中央操作室的模擬儀表盤上進行顯示。
3、手輪上部的外伸指示桿的上升和下降,標志著該閥的閘板是處于提升狀態還是下降狀態。閘閥關閉時,外伸指示桿位于最低位置;反之,閘閥全開時,外伸指示桿位于最高位置。此即為本閥啟閉狀態的現場指示。
4、氣缸蓋上部裝有氣動-手動轉換裝置。將轉換手柄順時針方向提轉到“氣動”定位孔定位,閘閥處于氣動操作狀態;反之,將轉換手柄逆時針方向提轉到“手動”定于孔處定位,閘閥即可進行手動操作。帶錐齒輪的手柄轉換方向相反。 手動操作閘閥時,手輪旋向和普通手動閥一樣,即順時針轉為關,逆時針轉為開。帶錐齒輪轉動的相反。
主要零件材質:
閥體、閥蓋、閥板
|
鑄鋼
|
閥體及閘板的密封面
|
合金鋼
|
閥桿
|
不銹鋼
|
雙頭螺栓
|
35號鋼
|
氣缸
|
20號無縫鋼管
|
活塞
|
鑄鋁合金
|
手動螺母
|
青銅
|
密封圈 |
石棉橡膠板
纏繞式金屬石墨墊片 |
活塞環及軸環
|
耐油橡膠○型圈
|
填料函
|
石墨石棉繩
|
PN1.6MPa 主要連接尺寸和外形尺寸
DN
|
D
|
D1
|
D2
|
b
|
f
|
L
|
H
|
Ds
|
D0
|
Z-d
|
氣源接頭
|
重量Kg
|
50
|
160
|
125
|
100
|
16
|
3
|
250
|
865
|
160
|
250
|
4-18
|
M12×1.25
|
42
|
80
|
195
|
160
|
135
|
20
|
3
|
280
|
1100
|
160
|
300
|
8-18
|
54
|
|
100
|
215
|
180
|
155
|
20
|
3
|
300
|
1200
|
160
|
350
|
8-18
|
100
|
|
150
|
280
|
240
|
210
|
24
|
3
|
350
|
1380
|
219
|
400
|
8-23
|
135
|
|
200
|
335
|
295
|
265
|
26
|
3
|
400
|
1580
|
273
|
400
|
12-23
|
270
|
|
250
|
405
|
355
|
320
|
30
|
3
|
450
|
1710
|
273
|
400
|
12-25
|
M20×1.5
|
350
|
300
|
460
|
410
|
375
|
30
|
4
|
500
|
1880
|
325
|
500
|
12-25
|
480
|
|
350
|
520
|
470
|
435
|
34
|
4
|
550
|
2180
|
426
|
500
|
16-25
|
570
|
|
400
|
580
|
525
|
485
|
36
|
4
|
600
|
2325
|
459
|
550
|
16-30
|
900
|
|
450
|
640
|
585
|
545
|
40
|
4
|
650
|
2570
|
500
|
550
|
20-30
|
1560
|
|
500
|
705
|
650
|
608
|
44
|
4
|
700
|
2800
|
600
|
600
|
20-34
|
M24×1.5
|
1820
|
600
|
840
|
770
|
718
|
48
|
5
|
800
|
3010
|
600
|
600
|
20-41
|
M27×1.5
|
2850
|
PN2.5MPa 主要連接尺寸和外形尺寸
DN
|
D
|
D1
|
D2
|
b
|
f
|
L
|
H
|
Ds
|
D0
|
Z-d
|
氣源接頭
|
重量Kg
|
50
|
160
|
125
|
100
|
20
|
3
|
250
|
865
|
160
|
250
|
4-18
|
M12×1.25
|
42
|
80
|
195
|
160
|
135
|
22
|
3
|
280
|
1100
|
160
|
300
|
8-18
|
54
|
|
100
|
230
|
190
|
160
|
24
|
3
|
300
|
1200
|
160
|
350
|
8-23
|
105
|
|
150
|
300
|
250
|
218
|
30
|
3
|
350
|
1380
|
219
|
400
|
8-25
|
190
|
|
200
|
360
|
310
|
278
|
34
|
3
|
400
|
1580
|
273
|
400
|
12-25
|
280
|
|
250
|
425
|
370
|
332
|
36
|
3
|
450
|
1710
|
273
|
400
|
12-30
|
M20×1.5
|
405
|
300
|
485
|
430
|
390
|
40
|
4
|
500
|
1880
|
325
|
500
|
16-30
|
535
|
|
350
|
550
|
490
|
448
|
44
|
4
|
550
|
2180
|
426
|
500
|
16-34
|
720
|
|
400
|
610
|
550
|
405
|
48
|
4
|
600
|
2325
|
459
|
550
|
16-34
|
1200
|
|
450
|
660
|
600
|
555
|
50
|
4
|
650
|
2570
|
500
|
550
|
20-34
|
1910
|
|
500
|
730
|
660
|
610
|
52
|
4
|
700
|
2800
|
650
|
600
|
20-41
|
M24×1.5
|
2250
|
600
|
840
|
770
|
718
|
56
|
5
|
800
|
3010
|
730
|
600
|
20-41
|
M27×1.5
|
3100
|
PN4.0MPa 主要連接尺寸和外形尺寸
DN
|
D
|
D1
|
D2
|
b
|
f
|
L
|
H
|
Ds
|
D0
|
Z-d
|
氣源接頭
|
重量Kg
|
50
|
160
|
125
|
100
|
20
|
3
|
250
|
890
|
160
|
300
|
4-18
|
M12×1.25
|
62
|
80
|
195
|
160
|
135
|
22
|
3
|
310
|
1150
|
219
|
350
|
8-18
|
130
|
|
100
|
230
|
190
|
160
|
24
|
3
|
350
|
1300
|
273
|
400
|
8-23
|
155
|
|
150
|
300
|
250
|
218
|
30
|
3
|
450
|
1450
|
273
|
400
|
8-25
|
240
|
|
200
|
375
|
320
|
282
|
38
|
3
|
550
|
1660
|
325
|
500
|
12-30
|
M20×1.5
|
280
|
250
|
445
|
385
|
345
|
42
|
3
|
650
|
1860
|
325
|
500
|
12-34
|
305
|
|
300
|
510
|
450
|
408
|
46
|
4
|
750
|
2010
|
426
|
500
|
16-34
|
580
|
|
350
|
570
|
510
|
465
|
52
|
4
|
850
|
2350
|
459
|
550
|
16-34
|
770
|
|
400
|
655
|
585
|
535
|
58
|
4
|
950
|
2530
|
600
|
550
|
16-41
|
1260
|
|
450
|
680
|
610
|
560
|
60
|
4
|
1050
|
2780
|
650
|
600
|
20-41
|
M24×1.5
|
1680
|
500
|
755
|
670
|
612
|
62
|
4
|
1150
|
3100
|
730
|
600
|
20-48
|
M27×1.5
|
2150
|
PN6.4MPa 主要連接尺寸和外形尺寸
DN
|
D
|
D1
|
D2
|
b
|
f
|
L
|
H
|
D0
|
Z-d
|
氣源接頭
|
重量Kg
|
|
50
|
175
|
135
|
105
|
26
|
3
|
250
|
865
|
160
|
250
|
4-23
|
M12×1.25
|
85
|
80
|
210
|
170
|
140
|
30
|
3
|
310
|
1170
|
300
|
300
|
8-23
|
125
|
|
100
|
250
|
200
|
168
|
32
|
3
|
350
|
1280
|
350
|
350
|
8-25
|
178
|
|
150
|
340
|
280
|
240
|
38
|
3
|
450
|
1470
|
400
|
400
|
8-34
|
305
|
|
200
|
405
|
345
|
300
|
44
|
3
|
550
|
1650
|
400
|
400
|
12-34
|
M20×1.5
|
410
|
250
|
470
|
400
|
350
|
48
|
3
|
650
|
1810
|
400
|
400
|
12-41
|
690
|
|
300
|
530
|
460
|
412
|
54
|
4
|
750
|
1960
|
500
|
500
|
16-41
|
770
|
|
350
|
595
|
525
|
475
|
60
|
4
|
850
|
2240
|
500
|
500
|
16-41
|
980
|
|
400
|
670
|
585
|
525
|
66
|
4
|
930
|
2450
|
550
|
550
|
16-48
|
M24×1.5
|
1970
|
六、Z6S41H氣動閘閥安裝使用及維修保養注意事項:
1、閥在安裝前應仔細核對型號是否與使用要求符合。
2、本閥可安裝在任何工作位置,但應考慮檢修和操作的方便。
3、閥在安裝前應對閥體進行密封性試驗;閥在安裝前還應進行三次以上的空載啟閉試驗,氣動閘閥的閘板開關應靈活,各種軸件不得有卡阻現象。
4、安裝過程中應清除孔內、密封面及接合面的污垢,檢查連接螺栓是否均勻擰緊。
5、安裝完畢要進行密封試驗及氣動和手動操作試驗。同時檢查回訊器在閥門全開或全關狀態下能否正確發訊。
6、本閥在使用中,要求將閘板全開全關,不允許將閘閥打開一部分作為調節流量的節流閥使用。否則,在介質流速的沖刷下使密封面損壞。
7、閥在使用過程中,應定期(18個月)在氣缸內壁加注少量潤滑油。
8、閥在使用期間,應視其動作頻繁程度進行定期檢查和維護。
9、氣動-手動轉換裝置上的轉換手柄在手動的位置,絕對不允許進行氣動操作。
七、Z6S41H氣動閘閥可能發生的故障和消除方法:
可能發生的故障
|
發生故障的原因
|
, 消除辦法
|
填料滲漏
|
填料密封圈磨損
|
1、壓緊填料密封圈
2、更換密封圈 |
活塞往復失靈
|
○形圈磨損或活塞桿變形
|
1、更換○形圈
2、更換活塞桿 |
回訊器失靈
|
回訊器頂桿與活塞上下兩端點有差距或回訊器零件損件
|
1、調整回訊器頂桿
2、更換回訊器 |
訂貨須知:
一、①氣動閘閥產品名稱與型號②氣動閘閥口徑③氣動閘閥是否帶附件以便我們的為您正確選型。
二、若已經由設計單位選定公司的氣動閘閥型號,請按氣動閘閥型號直接向我司銷售部訂購。
三、當使用的場合非常重要或環境比較復雜時,請您盡量提供設計圖紙和詳細參數,由我們的專家為您審核把關。
感謝您訪問我們的網站【http://www.tjybfm.com/】,如有任何疑問.您可以致電給我們,我們一定會盡心盡力為您提供優質的服務。





